Designed for a variety of applications, SOPKO quills and quill blanks are durable and rigid to stand up to the demands of precision grinding.
Since 1952, William Sopko & Sons Co. has been producing tungsten-based Heavy Metal quills engineered for the most demanding grinding applications. These quills are manufactured from a homogeneous powdered-metal mixture, compacted and sintered without grain structure, ensuring exceptional density, rigidity, and stability for a nearly chatter-free grinding environment.
SOPKO Heavy Metal quills deliver up to 75% more rigidity than standard steel quills, and for even greater stiffness, the Super Heavy Metal quill option provides nearly 100% more rigidity than steel. Their higher density—more than twice that of steel—significantly dampens vibration, allowing operators to achieve smoother, more precise results. Additionally, SOPKO Heavy Metal quills support longer stick-out extensions, with diameter-to-length ratios reaching as high as 1:9, depending on diameter, while still maintaining stability and performance.


For optimum grinding performance and operator safety, care must be taken to select a grinding quill with the shortest possible length and the largest practical diameter. Minimum quill length should be approximately equal to the length of the bore to be ground, this allows coolant and grinding swarf to exit freely from the workpiece, but consideration must also be given to wheel thickness, fixture diameter, coolant flow, and grinding wheel wear. A length to diameter ratio of 4 to 1 is generally recommended for steel Straight Shank quills. Higher ratios may be considered but these require special care and lower than usual wheel speed.
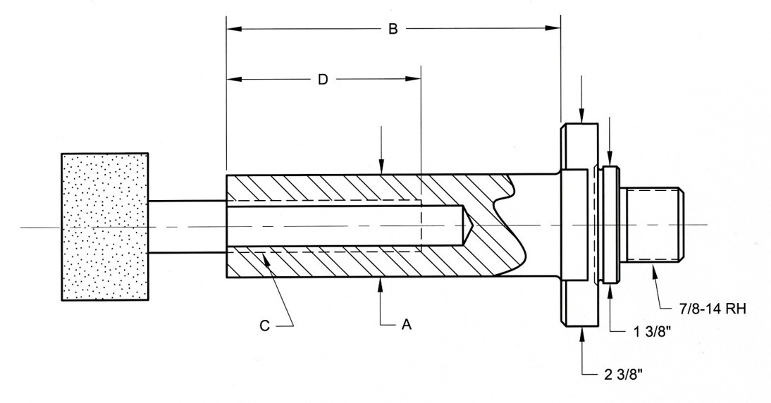
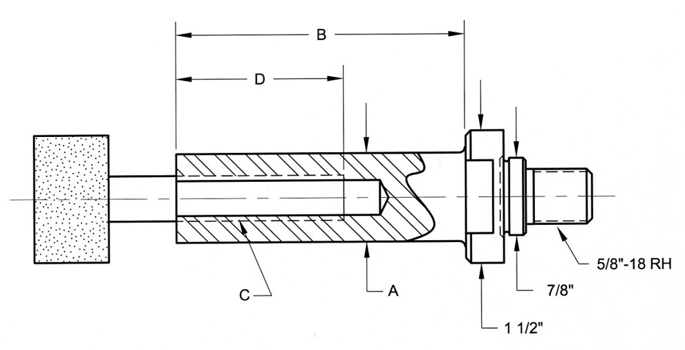
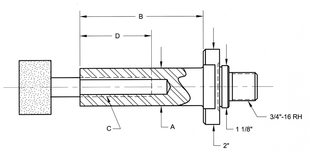
Wheel locking width must be known to select a wheelscrew that will pilot the entire length of the wheel ID and engage the quill bore to a minimum depth equal to the wheelscrew diameter. To avoid confusion and help visualize where wheel-locking width should be determined we have pictured several grinding wheel types and indicated with arrows the point where wheel-locking width should be measured.

SOPKO Precision Internal Grinding quills should be considered whenever longer tool extensions are needed and where rigidity and minimum vibration are critical.
| 83099 / 84099 | 83106 / 84106 |
| 83100 / 84100 | 83107 / 84107 |
| 83101 / 84101 | 83108 / 84108 |
| 83102 / 84102 | 83109 / 84109 |
| 83103 / 84103 | Pencil Chuck / Collet Chuck |
| 83104 / 84104 | Double Taper Shank |
| 83105 / 84105 |
SOPKO Heavy Metal and Super Heavy Metal tungsten based alloy grinding quills should be considered whenever longer tool extensions are needed and where rigidity and minimum vibration are critical. These quills are often used in substitution for Tungsten Carbide quills because they are less likely to chip or break and they are frequently more economical to purchase.
Share your quill type, measurements, and material requirements. Our team will help you select or custom-manufacture the perfect quill for your grinding application.